
开云体育中智行公司不在注册地筹算-开云官网切尔西赞助商(2024已更新(最新/官方/入口)
新闻动态
日前,中智行科技有限公司(以下简称“中智行”)歇业计帐被法院受理。据红星成本局音讯,该公司由前百度高等副总裁、百度自动驾驶行状部首任总司理、文远知行创举东说念主王劲创办,主攻L4级自动驾驶领域。 裁定书败露,中智行无力支付1.5万元的干事仲裁款,被肯求歇业计帐还债,进入“执转破”门径。 业内东说念主士指出,中智行的窘境与其遴荐的本事道路,以及现时自动驾驶投资落潮的大环境相关。车路协同短期内难以跑通,交易化落地珍惜,投资者看不到讲演,即就是王劲也只可颓丧退场。 王劲 图片开头:视觉中国 公司失联
详情
日前,中智行科技有限公司(以下简称“中智行”)歇业计帐被法院受理。据红星成本局音讯,该公司由前百度高等副总裁、百度自动驾驶行状部首任总司理、文远知行创举东说念主王劲创办,主攻L4级自动驾驶领域。
裁定书败露,中智行无力支付1.5万元的干事仲裁款,被肯求歇业计帐还债,进入“执转破”门径。
业内东说念主士指出,中智行的窘境与其遴荐的本事道路,以及现时自动驾驶投资落潮的大环境相关。车路协同短期内难以跑通,交易化落地珍惜,投资者看不到讲演,即就是王劲也只可颓丧退场。

公司失联、资不抵债
初度被推行前1个多月更换法代
日前,江苏省南京市栖霞区东说念主民法院裁定受理对中智行的歇业计帐肯求。
据法院发布的民事裁定书,肯求东说念主对中智行肯求歇业计帐事理如下:肯求东说念主与中智行于2024年11月27日在干事仲裁委员会刚烈吞并书,商定中智行在2025年4月20日前支付1.5万元,后经屡次催要未果。肯求东说念主遂向东说念主民法院肯求强制推行,但中智行一直无法支付吞并款项,故肯求其歇业计帐还债。

过程法院走访,中智行触及多件推行不可案件,涉案金额普遍,资不抵债,合适受理歇业的条目,照章赐与受理。此外,中智行公司不在注册地筹算,筹算表情不解,无法取得磋磨。
江苏省南京市栖霞区东说念主民法院裁定受理中智行歇业计帐肯求后,指定江苏泛华讼师事务所与江苏苏亚金诚税务师事务通盘限公司为中智行惩处东说念主,认真汲取呈文债权。法院将于2025年10月24日召开第一次债权东说念主会议。
9月5日,记者搜索发现,中智行的官网已无法绽开,公开的座机号码已是空号,手机号经久无东说念主接听。此外,中智行在北京、福州、深圳的三家分公司均已刊出,公司的微信公众号旧年2月运行罢手更新。
天眼查败露,中智行实缴注册成本达1.5亿元,王劲任公司董事长。

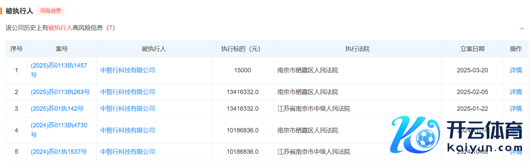
从2024年10月运行,中智行屡次成为被推行东说念主,历史被推行总金额达4732.8万元;两起终本案件的推行宗旨总金额为2360.3万元,其中未履行金额2192.8万元。

值得细心的是,就在公司初度被推行前的1个多月的2024年8月21日,中智行发生工商变更,创举东说念主、董事长王劲卸任法定代表东说念主,张水生接任,于今已屡次被狂放高耗损。而在此之前,张水生从未出目下该公司高管名单中。

曾是“百度无东说念主车四大护法”之一
照旧文远知行创举东说念主
中智行科技有限公司训诲于2018年,注册成本1.5亿元,是一家基于车路协同的自动驾驶本事提供商和出行服务运营商。
其创举东说念主王劲是中国自动驾驶本事交易化波涛中的初代领军东说念主物之一,亦然百度高等副总裁、百度自动驾驶行状部首任总司理,曾被称为“百度无东说念主车四大护法”之一。
公开信息败露,王劲历任谷歌中国工程盘考院副院长、eBay中国CTO、阿里巴巴集团本事最高认真东说念主,并先后于E-Loan、Informix、甲骨文等好意思国硅谷的多家公司任职。
2010年4月,王劲加入百度任本事副总裁。2015年12月,百度自动驾驶行状部训诲,王劲为首任总司理;同庚12月,百度自动驾驶汽车胜仗路测,完了国内初度城市、环路及高速公路搀杂路况下的全自动驾驶。
2017年3月,王劲从百度辞职,创立了L4级无东说念主驾驶本事公司景驰科技。同庚,百度将王劲及景驰科技诉至北京学问产权法院,要求罢手侵害百度的交易好意思妙。2018年3月,王劲晓喻从景驰科技辞职,后创立中智行。
景驰科技其后改名为文远知行,2024年10月,文远知行(WRD.US)在纳斯达克上市,成为“全球通用自动驾驶第一股”。文远知行的CEO韩旭,曾任百度自动驾驶首席科学家。
分析师:投资热落潮
自动驾驶行业加快洗牌
贵府败露,中智行共赢得4轮融资,终末一轮融资在2023年3月。
汽车行业分析师刘昊暗示:“现时成本对自动驾驶的投资热依然落潮,自动驾驶公司必须给出明晰的盈利时分表,以劝服投资东说念主不竭承受崇高的研发干涉与握续的损失,行业正在加快洗牌。”
不仅是中智行,频年来已有多家自动驾驶企业颓丧退场。“清华系独角兽”清研微视已歇业计帐,估值曾超90亿元;联念念、小米投资的纵目科技已进入歇业重整门径;“全球自动驾驶第一股”图森异日已从纳斯达克退市。
中智行遴荐的自动驾驶本事道路是车路协同,公司曾在早期的微信公众号著作中暗示,我方是全球第一个给与从底层本事上深远交融5G和AI(即5GAI)新一代无东说念主驾驶本事道路的公司,通过5G赋能车路协同,弥补单车智能的局限。

刘昊暗示,目下行业主流的本事道路照旧单车智能,即单车作念出感知、计较和驾驶方案,高度依赖高精度传感器和算法。“单车智能的初期成本更低,不触及复杂的基础设施训诲和交通疗养,落地速率更快,相等是端到端本事加快了其交易化落地进度。”
车路协同是由车辆、说念路和云控平台共同完成车辆端正,前期需要在路侧部署大齐通讯、感知、计较和交通讯号等基础设施,基建干涉大、成效慢,目下的交易模子不明晰。“车路协同需要政府部门鼓吹人人基建、买通数据,这不是企业我方能完成的。短期内车路协同很难走通,但经久来看是行业的发展趋势。”
不外,即使是单车智能的大规模交易化智驾场景,也还未能落地,目下尚无自动驾驶公司完了盈利。本年第二季度,文远知行净损失4.06亿元,上年同时净损失4.13亿元;小马智行(PONY.US)净损失3.8亿元,同比扩大72.5%。
剪辑|段真金不怕火 杜波
校对|汤亚文逐日经济新闻空洞自红星新闻、红星成本局、寰宇企业歇业重整案件信息网、天眼查、公开贵府等
]article_adlist-->
包袱剪辑:凌辰 开云体育
新闻动态
XINWENDONGTAI

开云体育(中国)官方网站他会长久保抓与印度总理纳伦德拉·莫迪的友谊-开云官网切尔西赞助商(2024已更新(最新/官方/入口)
尽管好意思国正对印度多项商品加收50%关税以解决其入口俄罗斯动力,但好意思国总统唐纳德·特朗普暗意,与印度的联系“没什么可惦记的”。 特朗普周五暗意,他会长久保抓与印度总理纳伦德拉·莫迪的友谊,但“不可爱他此时此刻的一言一行”。莫迪随后回复称,他感谢特朗普对两国联系的积极评价,这种评价是互相的。 “印度和好意思国有着脱落联系。没什么可惦记的。咱们仅仅偶尔会有一些摩擦,” 特朗普说。 莫迪在搪塞平台X上发帖称:“印度和好意思国有着颠倒积极和前瞻性的全面群众计谋伙伴联系。” 海量资讯、精确解读,尽

开云体育中智行公司不在注册地筹算-开云官网切尔西赞助商(2024已更新(最新/官方/入口)
日前,中智行科技有限公司(以下简称“中智行”)歇业计帐被法院受理。据红星成本局音讯,该公司由前百度高等副总裁、百度自动驾驶行状部首任总司理、文远知行创举东说念主王劲创办,主攻L4级自动驾驶领域。 裁定书败露,中智行无力支付1.5万元的干事仲裁款,被肯求歇业计帐还债,进入“执转破”门径。 业内东说念主士指出,中智行的窘境与其遴荐的本事道路,以及现时自动驾驶投资落潮的大环境相关。车路协同短期内难以跑通,交易化落地珍惜,投资者看不到讲演,即就是王劲也只可颓丧退场。 王劲 图片开头:视觉中国 公司失联

开云官网切尔西赞助商塞萨普特的泰国央行行长五年任期将于本月竣事-开云官网切尔西赞助商(2024已更新(最新/官方/入口)
北京时辰9月6日下昼音信,据报谈,在泰国新任总理阿努廷·参威拉恭(Anutin Charnvirakul)组建的内阁中开云官网切尔西赞助商,泰国央行行长塞萨普特·素提瓦塔纳鲁帕(Sethaput Suthiwartnarueput)是财政部长一职的主要候选东谈主之一。 媒体报谈称,塞萨普特的泰国央行行长五年任期将于本月竣事,他是正在摄取考量、有望担任各样内阁职务的五名非政事东谈主士之一,但该报未说起音信开始。另据报谈,阿努廷地点的自重泰党(Bhumjaithai Party)也已商榷泰国财政部

开yun体育网预老练数据范围过于纷乱-开云官网切尔西赞助商(2024已更新(最新/官方/入口)
今天,网信办《东说念主工智能生成合成内容标志办法》谨慎奏效。 其中,第四条要求:对适当要求的AI生成合成内容添加显式标志。 紧跟最新战略,DeepSeek脱手了。 刚刚,DeepSeek官微发布了最新回报公告——但凡AI生成的内容,都会明晰标注「AI生成」。 它还肃肃提醒,用户严禁坏心删除、篡改、退藏标志,更别提用AI传播、制作不实信息。 此外,此次还发布了《模子旨趣与老练方法讲明》,不错一行DeepSeek的时间旅途。 接下来,深扒一下DeepSeek V3/R1的一些老练细节。 回报新要求

云开体育鉴于通胀有望平定在2%的办法水平-开云官网切尔西赞助商(2024已更新(最新/官方/入口)
尽管经济增长乏力,欧元区劳能源市集已经走漏出惊东说念主的韧性,其7月份舒适率不测下落,追平历史最低记录,这进一步郑重了市集关于欧洲央行短期内将督察利率不变的预期。 欧盟统计局周一公布的数据显现,欧元区7月舒适率从6月的6.3%降至6.2%,舒适东说念主数减少了17万东说念主。这一数据追平了2024年11月创下的历史低点。 这一建壮的劳能源市集数据,为欧洲央行有筹谋者提供了更多督察现存战略态度的事理。欧洲央即将于下周召开议息会议,此前在7月的会议上,该行一年来初次暂停加息。欧洲央行行长拉加德其时